Compatibility Requirements
To ensure that the B-70 Bandsaw Rip Fence functions correctly with your bandsaw, your machine must meet the following minimum table dimensions and clearances:
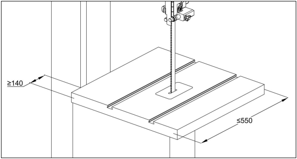
Front Clearance:
The main table’s edge must extend at least 5-35/64" (140 mm) from the frame or column.
This ensures that the fence's main body can slide freely without interference from the saw’s frame.Table Width:
The main table width (distance between front and back rail) must not exceed 21-21/32" (550 mm).
This allows the fence face to sit properly on the back rail with the fence travel system.
**If your bandsaw meets these two criteria, the B-70 system is mechanically compatible.
Installation and Drilling Modifications
Some bandsaws may not have pre-drilled holes for the front and back rails.
In such cases, drilling modifications will be necessary.
Please follow the specifications below to ensure proper alignment and stability.
1. Drilling Depth Reference
Using a 10m drill bit, drill holes 59/64" (23.5 mm) from the tabletop surface.
2. Front Rail Hole Locations
First Hole:
≤ 1-31/32" (50 mm) from the left edge (closest to the frame) of the table.Second Hole:
≥ 1-31/32" (50 mm) left of the blade.This ensures the front rail will not interfere with the blade replacement process
For blades removed from the side of the table (rather than the front), position the outer drill point no more than 8 inches to the right of the blade. This provides enough clearance to support the front rail when the fence face is set to zero in its low position. Placing the drill point closer to the blade allows the front rail to shift further left, giving additional space to zero the fence scales in the low position.
It is recommended to position the drill point slightly within this limit to ensure proper alignment and secure installation.
3. Back Rail Hole Locations
**C14 Ambassador Band saw back drilling points should mirror the drilling points on the front of the table - drill through existing tabs
First Hole:
≤ 1-31/32" (50 mm) from the right edge of the table.Second Hole:
≤ 21-21/32" (550 mm) from the bandsaw post.The back rail measures 550 mm in total length. When determining the drilling position (furthest from the bandsaw post), subtract the distance between the edge of the table and the bandsaw post from this length.
The resulting measurement represents the maximum allowable distance for the outermost drill point on the back rail while allowing the back rail to support the fence face closest to the post.
It is recommended to position the drill point slightly within this limit to ensure proper alignment and secure installation.
If the main table width is less than the calculated maximum distance, the back rail may extend beyond the table’s left edge. In this case, position the outer drill point as close as possible to the left edge of the table, at a convenient, structurally secure location. This ensures the back rail remains fully supported by the table surface and maintains proper alignment during installation.
Notes for Installation
Always double-check your measurements before drilling.
Ensure the fence rail assembly is perfectly parallel to the saw table surface.
If your bandsaw table does not meet the minimum clearance or exceeds the width limit, the B-70 system may require additional customization or may not fit.
Positioning The Front Rail
When setting up the B-70 front rail, proper positioning ensures accurate fence alignment and full travel range across the saw table.
For proper fence operation in its low position, the front rail requires a minimum of 24.75″ (629 mm) of length to the left of the blade.
From this point forward, all instructions will refer to setting up the 6” fence face in its low position, as this represents the minimum width required to the left of the blade when the fence face is set to zero and the scale stop block is aligned flush with the edge of the rail.
1. Measuring the Inner Post–to–Blade Distance
Before positioning the front rail, measure the distance between the bandsaw’s inner post and the blade. This measurement (denoted as B) varies by model — for example:
2. Calculating the Left-Edge Position
The B-70 front rail has a total length of 33.25″ (845 mm).
To determine the correct position of the rail relative to your specific bandsaw, measure the distance from the inner post to the blade (denoted as B) and calculate the left-edge offset (L)—the distance from the inner post to the left edge of the front rail—using the following formula:
Left Edge Distance (in) = 24.75 − (Distance from Inner Post to Blade)
Where:
L = distance from the inner post to the left edge of the front rail
B = distance from the inner post to the blade
The calculated value (L) represents the minimum offset that the left edge of the front rail can be positioned from the inner post for correct fence operation.
If allowed by the furthest support block, users may extend the rail an additional 8.5″ (216 mm) to the left, using the remaining section of the rail to the right of the blade. This adjustment allows for greater fence scale tolerance when setting fence faces to zero.
3. Example Calculations
Example:
If the blade is 15″ from the inner post, the minimum left-edge offset is 9.75″ (248 mm).
If desired, you may extend up to 18.25″ (463 mm) to the left for greater tolerance when setting scales and fence face to zero, if allowed by the furthest support block.
Was this article helpful?
That’s Great!
Thank you for your feedback
Sorry! We couldn't be helpful
Thank you for your feedback
Feedback sent
We appreciate your effort and will try to fix the article







